Скачать опросный лист
Секционный водоводяной подогреватель горизонтального типа ВВП 01-57-2000 используется в системах отопления и горячего водоснабжения, в которых теплоносителем является горячая вода, получаемая от котельных или поступающая от тепловых магистралей ТЭЦ.
Скачать опросный лист
Подогреватель ВВП 01-57-2000 может использоваться и в других схемах, в которых требуется осуществить нагрев или охлаждение жидкости (например в качестве охладителей конденсата для пароводяных подогревателей). При этом параметры теплообменивающихся сред не должны превышать те значения, которые регламентированы для условий применения данного подогревателя в системах теплоснабжения.
Расчетный срок службы ВВП 01-57-2000 – 20 лет.
Гарантийный срок эксплуатации – 12 месяцев с момента ввода подогревателя в эксплуатацию, но не более 18 месяцев со дня отгрузки потребителю.
Секционный водоводяной подогреватель горизонтального типа ВВП 01-57-2000 используется в системах отопления и горячего водоснабжения, в которых теплоносителем является горячая вода, получаемая от котельных или поступающая от тепловых магистралей ТЭЦ.
| 
											Вес калача, кг
																					 | 5,85 | 
| 
											Вес перехода, кг
																					 | 4,20 | 
| 
											Вес секции, кг
																					 | 21,6 | 
| 
											Поверхность нагрева секции, м2
																					 | 0,37 | 
| 
											Расход нагрев. среды, т/ч
																					 | 2,15 | 
| 
											Тепловой поток секции, *кВт
																					 | 7,90 | 
| Площадь сечения секции, м2 | |
| 
											Межтрубного прос-ва
																					 | 0,00116 | 
| 
											Трубного прос-ва
																					 | 0,00062 | 
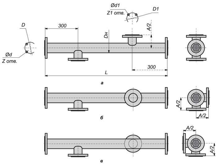
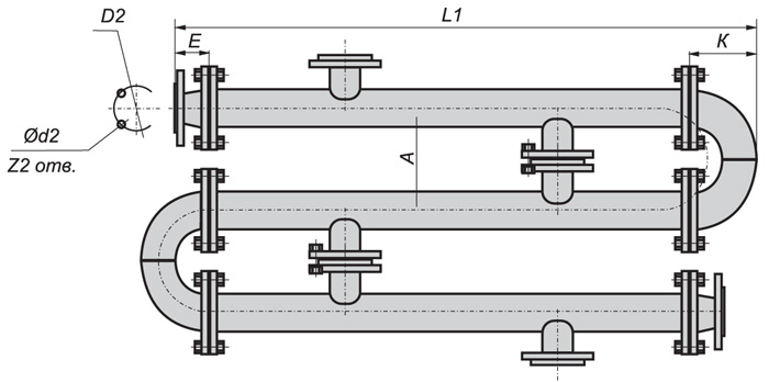
Габаритные и присоединительные размеры
Секция разъемная: а - типовое, (Т); б - правое (Пр); в - левое (Л).

Подогреватель разъемный из секций

| Dн, мм | L, мм | L1, мм | D, мм | D1, мм | D2, мм | d, мм | d1, мм | d2, мм | Z, мм | Z1, мм | Z2, мм | Кол-во теплообм. трубок в секции, шт | А, мм | 
|---|---|---|---|---|---|---|---|---|---|---|---|---|---|
| 57 | 2000 | 2210 | 125 | 110 | 110 | 18 | 18 | 18 | 4 | 4 | 4 | 4 | 200 | 
 
							 
							 
							 
							 
							 
							 
							 
							 
							 
							 
							 
								 
								 
								 
								 
								 
								 
								 
								 
								 
								