Агрегат пылеулавливающий ЗИЛ-1600
Цена по запросу
Усли у вас возникли трудности с подбором оборудования, заполните опросный лист, и наши специалисты помогут вам в этом.
Скачать опросный лист
Скачать опросный лист
Внимание! В связи с изменением курса валют актуальные цены уточняйте у менеджеров.
Агрегат пылеулавливающий ЗИЛ-1600
Цена по запросу
Усли у вас возникли трудности с подбором оборудования, заполните опросный лист, и наши специалисты помогут вам в этом.
Скачать опросный лист
Скачать опросный лист
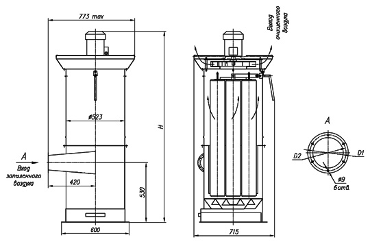
Характеристики
|
Масса не более, кг
|
150 |
|
Частота вращения, об/мин
|
2835 |
|
Габаритные размеры, (длина х ширина х высота)
|
773 х 715 х 2100 |
|
Допускаемая запыленность очищаемого воздуха, мг/м3
|
35 |
|
Мощность электродвигателя, кВт
|
2,2 |
|
Очищаемая среда
|
невзрывоопасная |
|
Поверхность фильтрования, м2
|
3,9 |
|
Производ. по чистому воздуху, м³/ч
|
1520 |
|
Род тока
|
99 |
|
Тип электродвигателя
|
АИР 80В2 |
|
Эффективность пылеулавливания, %
|
99 |

| Размеры, мм | ЗИЛ-1600 |
|---|---|
| H | 2100 |
| D1 | 180 |
| D2 | 210 |