Теплообменник базовый ТБЗ‑10.10.01.16 У3
Цена по запросу
Внимание! В связи с изменением курса валют актуальные цены уточняйте у менеджеров.
Теплообменник базовый ТБЗ‑10.10.01.16 У3
Цена по запросу
Характеристики
|
Площадь сечения (среднее значение) для прохода теплоносителя, м2
|
0,000531 |
|
Площадь фронтального сечения, м2
|
0,83 |
|
Число ходов по теплоносителю
|
4 |
|
Масса не более, кг
|
65,0 |
|
Производительность по воздуху, м3/час
|
от 10 000 до 250 000 |
|
Площадь поверхности теплообмена, м²
|
14,4 |

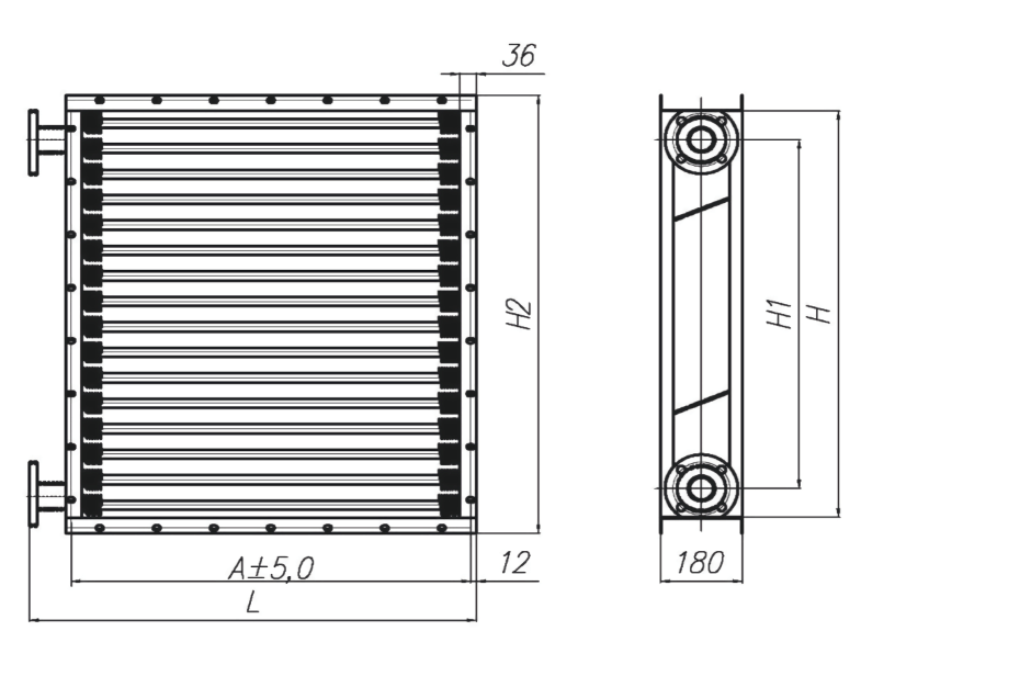
| А | L | H | H1 | H2 | V, m3 |
|---|---|---|---|---|---|
| 876 | 980 | 997 | 869 | 1 075 | 0,190 |