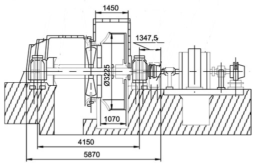
Вентилятор шахтный ВЦ-31,5
Цена по запросу
Внимание! В связи с изменением курса валют актуальные цены уточняйте у менеджеров.
Вентилятор шахтный ВЦ-31,5
Цена по запросу
Характеристики
|
КПД, %
|
0,85 |
|
Мощность, кВт
|
1250 |
|
Частота вращения, об/мин
|
500, 600 |
|
Масса сухая, кг
|
13 700 |
|
Номинальное полное давление, Па
|
1 800-5 100, 1 300-3 600 |
| Параметры в рабочей зоне | |
|
Производительность м³/с
|
45-145, 50-175 |

| H | B | L |
|---|---|---|
| 3 290 | 5 850 | 5 290 |
